クラウド型ゲームシステムにおける描画リソースの動的割り当て
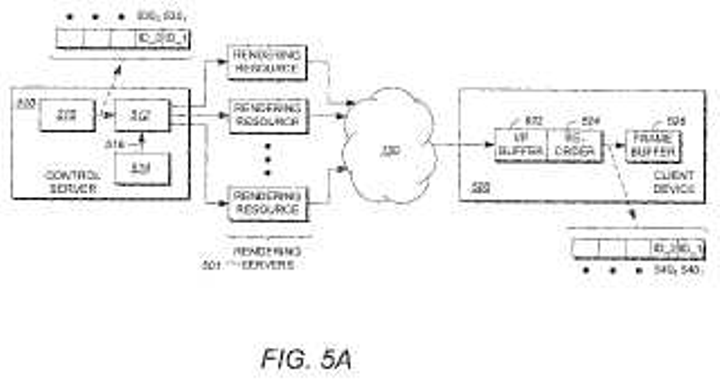
JP6196668 要約書 クライアント装置のためにビデオコンテンツをレンダリングするためのレンダリングコマンドのセットを生成するステップと、少なくとも2つのレンダリングリソースのグループから少なくとも1つのレンダリングリソースにレンダリングコマンドのセットのそれぞれを向けるステップとを含む方法であって、リソースには、それに向けられたレンダリングコマンドのセットの少なくともいくつかがある。 指示の動作は、少なくとも2つのレンダリングリソースの中からレンダリングコマンドの各セットをレンダリングリソースに向けることを含むことができ、レンダリングリソースは、クライアントデバイスのための割り当てられたレンダリングリソースとして指定される。 この方法は、少なくとも2つのレンダリングリソースのうちのどれが、クライアントデバイスのための割り当てられたレンダリングリソースとして指定されるかを変更するステップをさらに含むことができる。